热点:

    索尼专利曝光:PCIE扩展卡或让普通电脑变PlayStation开发机

      [  中关村在线 原创  ]   作者:牛奶秋刀鱼
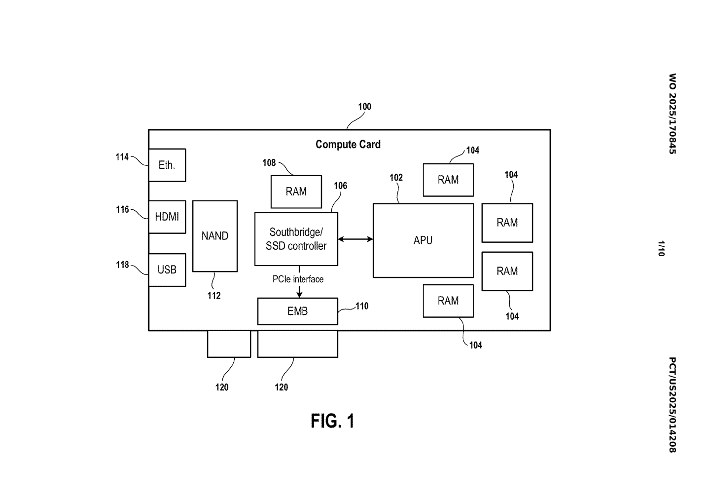
    diy.zol.com.cn true https://diy.zol.com.cn/1033/10339409.html report 878 近日,一项索尼申请的新专利引发关注。该专利展示了一种外观类似标准 PCIe 扩展卡的设备,有望使 PC 工作站或服务器具备 PlayStation 开发机的功能。据专利描述,这项技术的关键在于将游戏开发平台以 PCIe 卡的形式实现,从而取代以往体积较大、获取不易的专业开发设备。...
    提示:支持键盘“← →”键翻页阅读全文
    本文导航
    • 第2页:DIEWU PCIe并口卡 pci-e转并口卡 25针l打印
    • 猜你喜欢
    • 最新
    • 精选
    • 相关
    推荐经销商
    投诉欺诈商家: 010-83417888-9185
    • 北京
    • 上海
    • DIY组装电脑
    • 新品上市
    推荐问答
    提问
    0

    下载ZOL APP
    秒看最新热品

    内容纠错